lemon-mirror:
Home >> Acura >> 2008 >> TL V6-3.2L >> Repair and Diagnosis >> Powertrain Management >> Computers and Control Systems >> Main Relay (Computer/Fuel System) >> Testing and Inspection

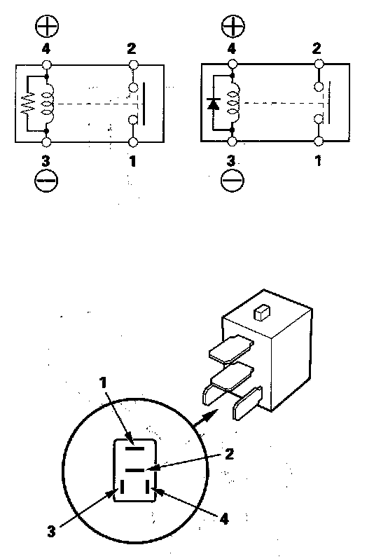
Main Relay (Computer/Fuel System): Testing and Inspection

Power Relay Test

Use this chart to identify the type of relay, then do the test listed for it.

NOTE: For the turn signal/hazard relay input test, Refer to lighting and Horns.






Normally-open type

Check for continuity between the terminals.

- There should be continuity between the No. 1 and No. 2 terminals when power and ground are connected to the No. 3 and No. 4 terminals.
- There should be no continuity between the No. 1 and No. 2 terminals when power is disconnected.