lemon-mirror:
Home >> Acura >> 2008 >> TL V6-3.2L >> Repair and Diagnosis >> Body and Frame >> Locks >> Keyless Entry >> Keyless Starting System >> Testing and Inspection

Keyless Starting System: Testing and Inspection

Power Relay Test

Use this chart to identify the type of relay, then do the test listed for it.

NOTE: For the turn signal/hazard relay input test, Refer to lighting and Horns.






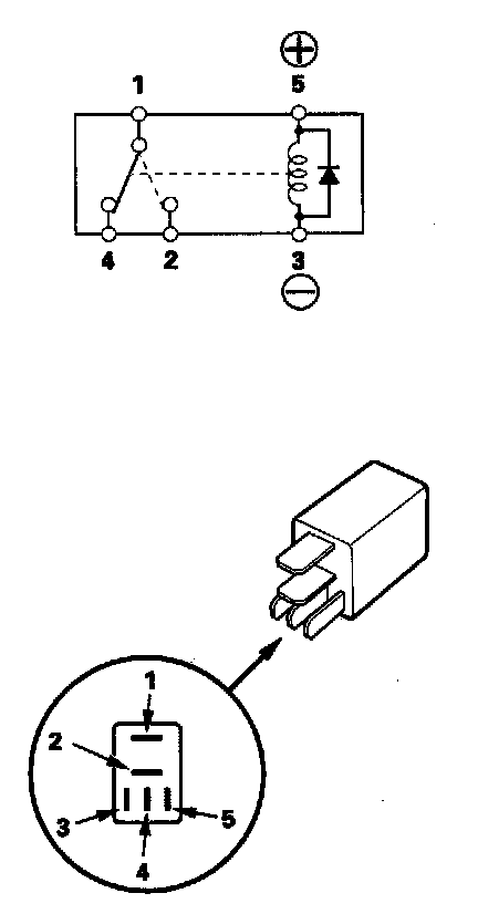
Five-terminal type

Check for continuity between the terminals.

- There should be continuity between the No. 1 and No. 2 terminals when battery positive terminal is connected to the No. 5 terminal, and battery negative terminal is connected to the No. 3 terminal.
- There should be continuity between the No. 1 and No. 4 terminals when power is disconnected.