lemon-mirror:
Home >> Acura >> 2008 >> RL V6-3.5L >> Repair and Diagnosis >> Specifications >> Mechanical Specifications >> Body Specifications

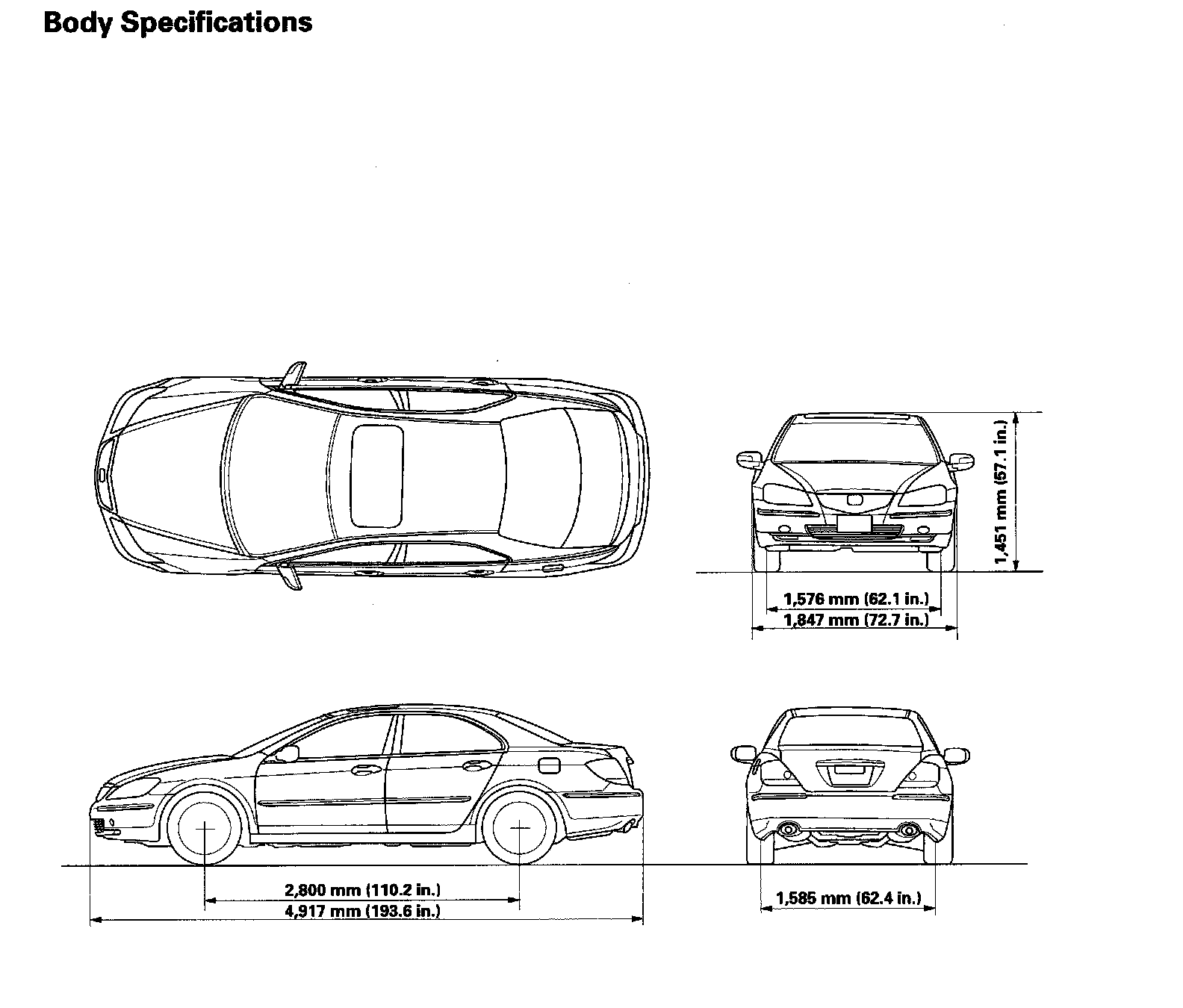
Body Specifications

Body Specifications: