lemon-mirror:
Home >> Acura >> 2008 >> MDX V6-3.7L >> Repair and Diagnosis >> Body and Frame >> Locks >> Keyless Entry >> Keyless Starting System >> Testing and Inspection

Keyless Starting System: Testing and Inspection

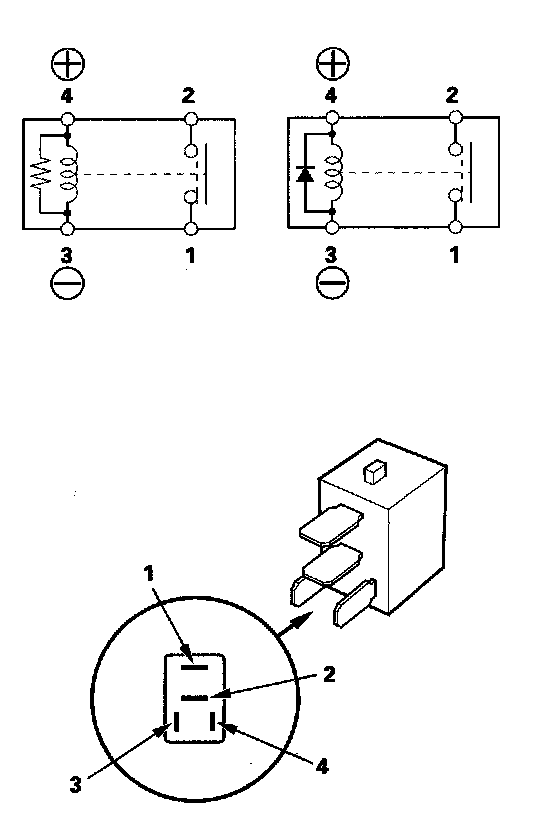
Power Relay Test

Use this chart to identify the type of relay, then do the test listed for it.






NOTE: The following relays are part of the relay control module: PGM-FI main relay 1, ignition coil relay, PGM-FI subrelay and ETCS relay. To test these relays, go to relay control module test. Testing and Inspection

Normally-open type

Check for continuity between the terminals.

- There should be continuity between the No. 1 and No. 2 terminals when battery positive terminal is connected to the No. 4 terminal, and battery negative terminal is connected to the No. 3 terminal.
- There should be no continuity between the No. 1 and No. 2 terminals when power is disconnected.