lemon-mirror:
Home >> Acura >> 2007 >> TSX L4-2.4L >> Repair and Diagnosis >> Body and Frame >> Locks >> Keyless Entry >> Testing and Inspection >> Door Lock Switch Test

Door Lock Switch Test

Door Lock Switch Test

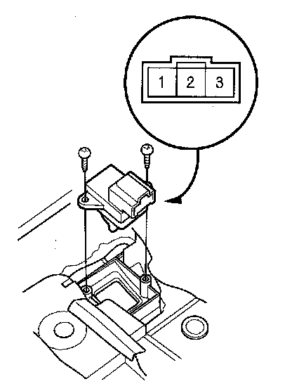
Passenger's Door Lock Switch

1. Remove the front passenger's inner handle.




2. Remove the two screws, then remove the door lock switch.
3. Check for continuity between the terminals.
- There should be continuity between the No. 1 and No. 2 terminals when the door lock switch is in the LOCK position.
- There should be no continuity between the No. 1 and No. 2 terminals when the door lock switch is in the neutral position or UNLOCK position.
- There should be continuity between the No. 2 and No. 3 terminals when the door lock switch is in the UNLOCK position.
- There should be continuity between the No. 2 and No. 3 terminals when the door lock switch is in the neutral position or LOCK position.

4. If the continuity is not as specified, replace the switch.