lemon-mirror:
Home >> Acura >> 2007 >> RL V6-3.5L >> Repair and Diagnosis >> Specifications >> Mechanical Specifications >> Engine >> Cylinder Block Assembly >> Piston Ring, Engine

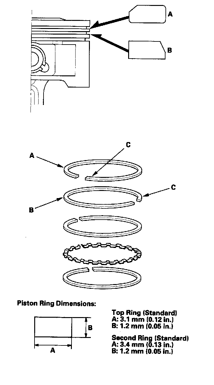
Piston Ring, Engine

Piston Ring End-Gap
Top Ring:
Standard (New): 0.20 - 0.35 mm (0.008 - 0.014 inch)
Service Limit: 0.60 mm (0.024 inch)

Second Ring:
Standard (New): 0.40 - 0.55 mm (0.016 - 0.022 inch)
Service Limit: 0.70 mm (0.028 inch)

Piston Ring Dimension





Top and Second Ring Clearance