lemon-mirror:
Home >> Acura >> 2007 >> RL V6-3.5L >> Repair and Diagnosis >> Body and Frame >> Specifications >> Body Specifications/Wheel Alignment

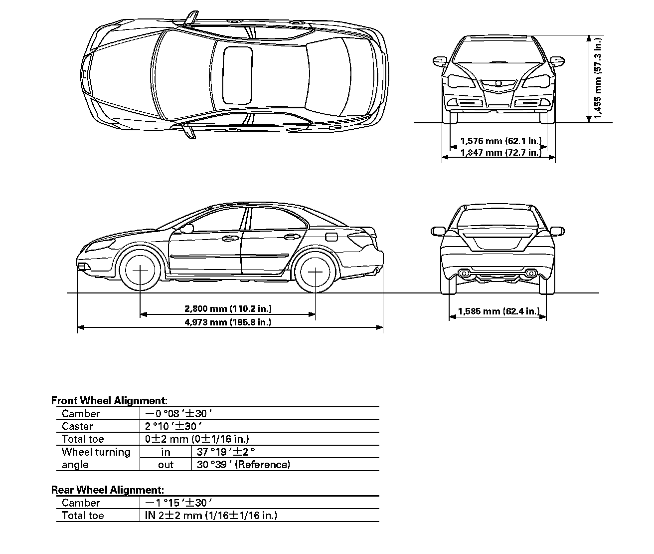
Body Specifications/Wheel Alignment