lemon-mirror:
Home >> Acura >> 2007 >> RL V6-3.5L >> Repair and Diagnosis >> Body and Frame >> Frame >> Subframe >> Service and Repair

Subframe: Service and Repair

Subframe Replacement

Special Tools Required
Frame positioning guide pin 070AG-SJAA10S

Front Subframe Torque




After removing the subframe mounting bolts and front suspension subframe rear bracket mounting bolts, be sure to replace them with new ones.

Front Subframe Alignment

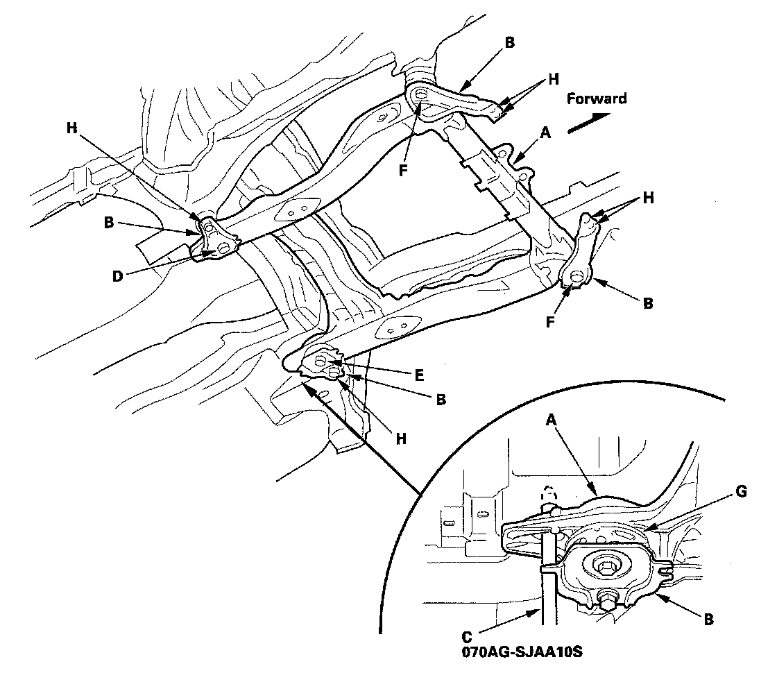
NOTE: Using the special tool, make the front suspension subframe alignment as the following sequence.

1. Make the front suspension subframe (A) alignment.
1. Lift the front suspension subframe up to the body, and loosely install the new subframe mounting bolts and the brackets (B).
2. Insert the alignment pin (C) into the alignment hole in the right rear of the subframe, and then align the subframe with the body.
3. Loosely tighten the subframe mounting bolt (D) at the right rear.
4. Insert the alignment pin into the alignment hole in the left rear of the subframe, and then align the subframe with the body.
5. Loosely tighten the subframe mounting bolt (E) at the left rear.
6. Loosely tighten both front subframe mounting bolts (F).
7. Insert the alignment pin into the alignment hole in the right rear of the subframe.
8. Loosen the subframe mounting bolt at the right rear, and fit the lower insulator (G), in the subframe, and then tighten the mounting bolt to the specified torque values.




9. Tighten the remaining subframe mounting bolts and the bracket mounting bolts (H) to the specified torque values.

2. After reinstalling all removed parts, check and adjust the front wheel alignment.

Rear Subframe Torque




After removing the subframe mounting bolts, be sure to replace them with new ones.