lemon-mirror:
Home >> Acura >> 2006 >> TSX L4-2.4L >> Repair and Diagnosis >> Testing and Inspection

Repair and Diagnosis: Testing and Inspection




Power Relay Test

Use this chart to identify the type of relay, then do the test listed for it.

NOTE: For the turn signal/hazard relay input test.




Normally-open type
Check for continuity between the terminals.

- There should be continuity between the No. 1 and No. 2 terminals when power and ground are connected to the No. 3 and No. 4 terminals.
- There should be no continuity between the No. 1 and No. 2 terminals when power is disconnected.




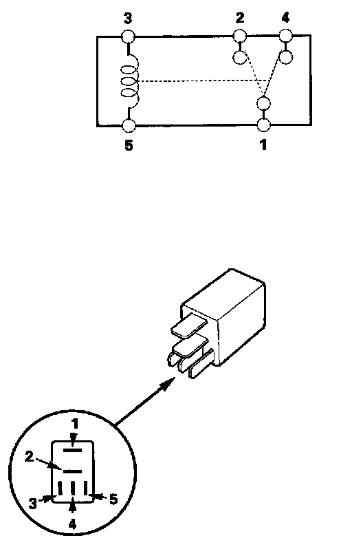
Five-terminal type B
Check for continuity between the terminals.

- There should be continuity between the No. 1 and No. 2 terminals when power and ground are connected to the No. 3 and No. 5 terminals.
- There should be continuity between the No. 1 and No. 4 terminals when power is disconnected.