lemon-mirror:
Home >> Acura >> 2006 >> RSX L4-2.0L >> Repair and Diagnosis >> Testing and Inspection

Repair and Diagnosis: Testing and Inspection

Power Relay Test




Use this chart to identify the type of relay, then do the test listed for it.

NOTE: For the turn signal/hazard relay input test.







Normally-open type A

Check for continuity between the terminals.

- There should be continuity between the No. and No.2 terminals when power and ground are connected to the No.3 and No.4 terminals.
- There should be no continuity between the No.1 and No.2 terminals when power is disconnected.







Normally-open type B

Check for continuity between the terminals.

- There should be continuity between the No.1 and No.3 terminals when power and ground are connected to the No.2 and No.4 terminals.
- There should be no continuity between the No.1 and No.3 terminals when power is disconnected.




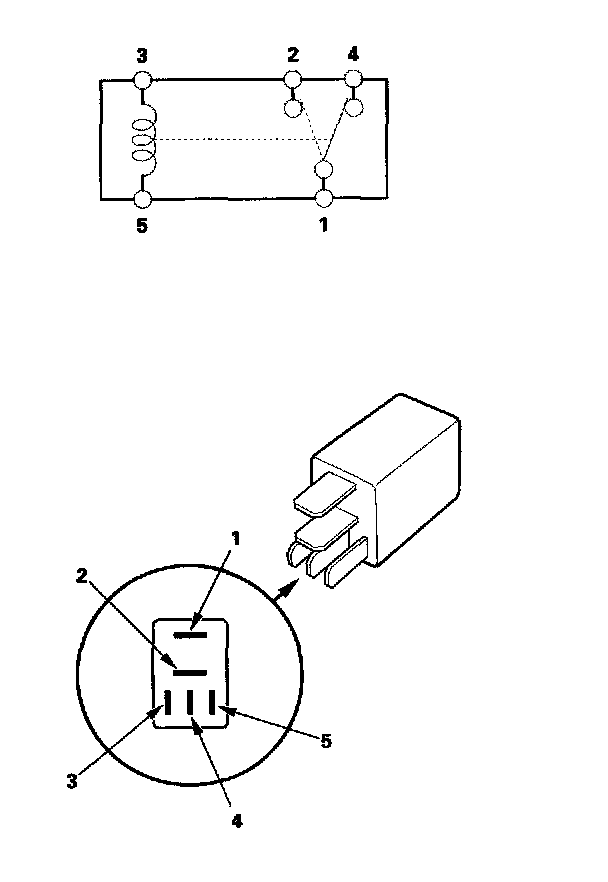
Five-terminal type

Check for continuity between the terminals.

- There should be continuity between the No.1 and No.2 terminals when power and ground are connected to the No.3 and No.5 terminals.
- There should be continuity between the No.1 and No.4 terminals when power is disconnected.