lemon-mirror:
Home >> Acura >> 2006 >> RSX L4-2.0L >> Repair and Diagnosis >> Cruise Control >> Cruise Control Switch >> Service and Repair >> Cruise Control Switch Test/Replacement

Cruise Control Switch Test/Replacement

Cruise Control Main Switch Test/Replacement




1. Gently pry up the driver's switch panel (A) to release the hooks (B), then pull out the panel.




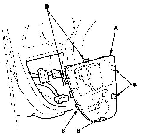
2. Release the clips, and push the cruise control main switch (A) out of the panel, then disconnect the 5P connector (B) from the cruise control main switch.




3. Check for continuity between the terminals in each switch position according to the table. 1f the continuity is not as specified, replace the illumination bulbs (A) or the switch.