lemon-mirror:
Home >> Acura >> 2005 >> TSX L4-2.4L >> Repair and Diagnosis >> Heating and Air Conditioning >> Control Assembly >> Service and Repair >> Audio-HVAC Display Panel Disassembly/Reassembly

Audio-HVAC Display Panel Disassembly/Reassembly

Audio-HVAC Display Panel Disassembly/Reassembly

1. Remove the audio-HVAC display panel.




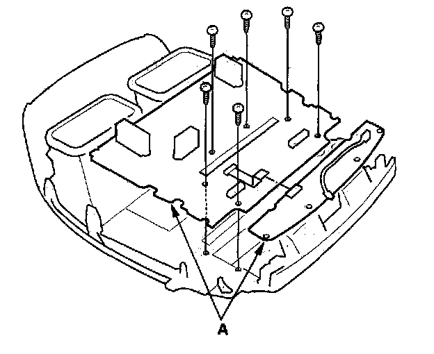
2. Remove the mounting screws and the cover (A).




3. With navigation system: Remove the mounting screws and disconnect the connectors (A) from the circuit board (B), then remove the circuit board from the display unit (C).




4. With navigation system: Remove the mounting screws and the display unit (D).




5. Without navigation system: Remove the mounting screws, then remove the printed circuit board (A).
6. Install the audio unit and printed circuit board in the reverse order of removal.