lemon-mirror:
Home >> Acura >> 2005 >> TL V6-3.2L >> Repair and Diagnosis >> Specifications >> Mechanical Specifications >> Body Specifications

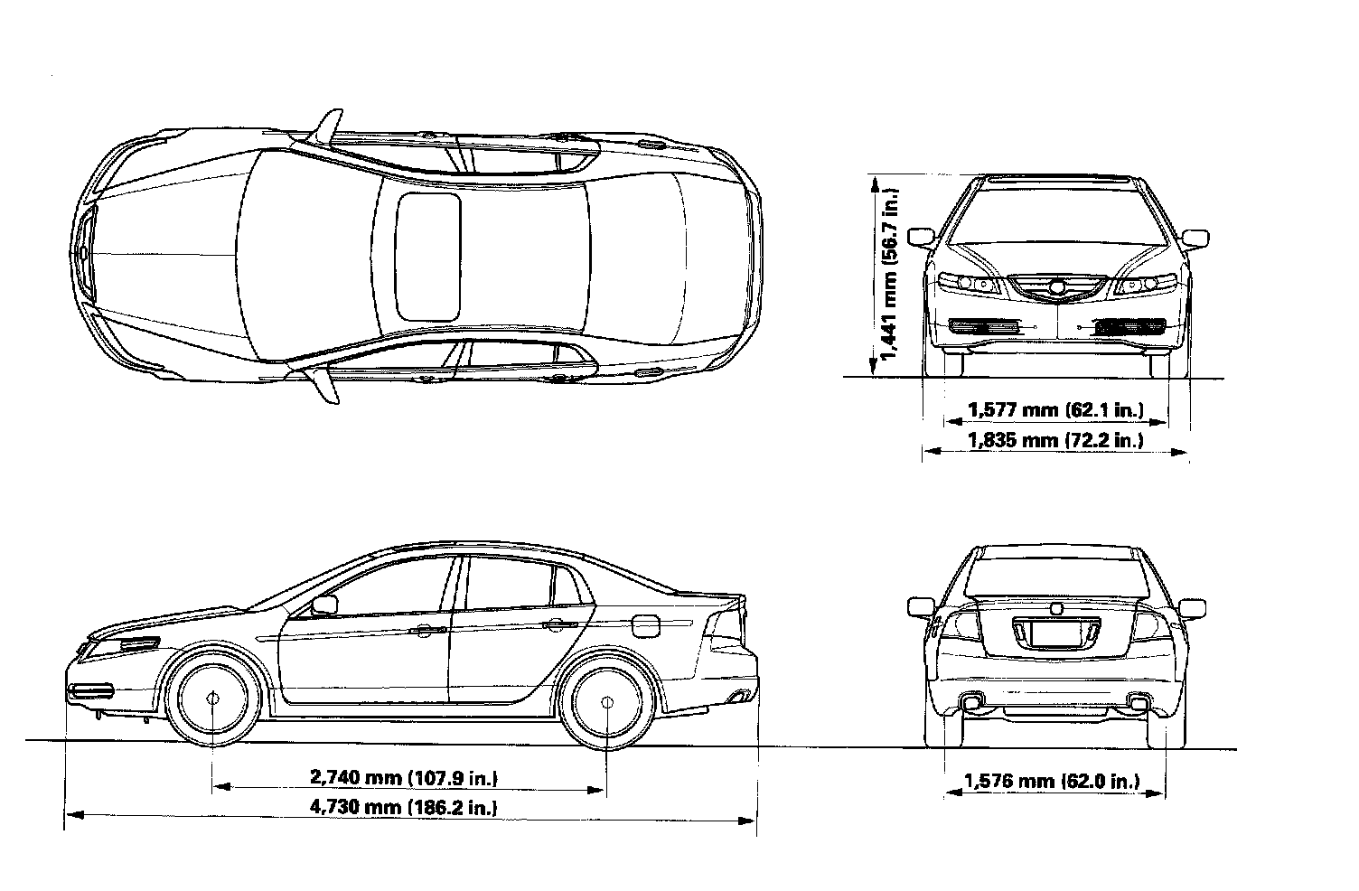
Body Specifications

Body Specifications: