lemon-mirror:
Home >> Acura >> 2005 >> TL V6-3.2L >> Repair and Diagnosis >> Body and Frame >> Locks >> Keyless Entry >> Keyless Entry Receiver >> Testing and Inspection >> Keyless Buzzer Test/Replacement

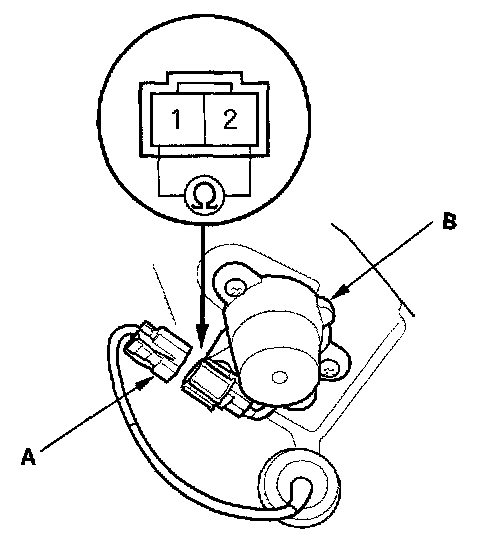
Keyless Buzzer Test/Replacement

Keyless Buzzer Test/Replacement

1. Remove the left inner fender.




2. Disconnect the 2P connector (A) from the keyless buzzer (B).
3. Test the buzzer by checking the resistance across the No. 1 and No. 2 terminals. There should be about 1.7 kOhms.




4. If the buzzer is not within the specification, remove the two mounting screws, then replace the buzzer (A).