lemon-mirror:
Home >> Acura >> 2005 >> RL V6-3.5L >> Repair and Diagnosis >> Testing and Inspection

Repair and Diagnosis: Testing and Inspection

Power Relay Test





Use this chart to identify the type of relay, then do the test listed for it.

NOTE: For the turn signal/hazard relay 1 input test, refer to Turn Signal Relay.

Normally-open type







Check for continuity between the terminals.
- There should be continuity between the No. 1 and No. 2 terminals when power and ground are connected to the No. 3 and No. 4 terminals.
- There should be no continuity between the No. 1 and No. 2 terminals when power is disconnected.

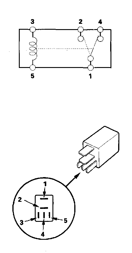
Five-terminal type B




Check for continuity between the terminals.
- There should be continuity between the No. 1 and No. 2 terminals when power and ground are connected to the No. 3 and No. 5 terminals.
- There should be continuity between the No. 1 and No. 4 terminals when power is disconnected.

Turn Signal/Hazard Relay 2 (sounder)




Check for a sound from the turn signal/hazard relay 2. The relay should sound once when power and ground are connected to the No. 2 and No. 1 terminals, and No. 3 and No. 1 terminals.