lemon-mirror:
Home >> Acura >> 2003 >> RSX L4-2.0L >> Repair and Diagnosis >> Maintenance >> Fluids >> Coolant >> Testing and Inspection

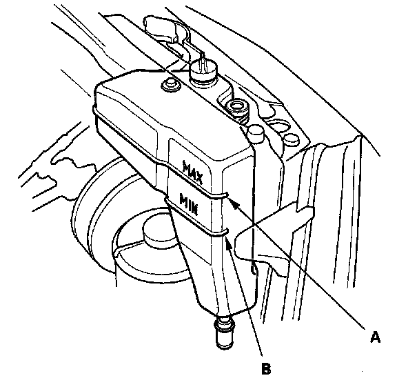
Coolant: Testing and Inspection

Check





1. Look at the coolant level in the reserve tank. Make sure it is between the MAX mark (A) and WIN mark (B).
2. If the coolant level in the reserve tank is at or below the MIN mark, add coolant to bring it up to the MAX mark, and inspect the cooling system for leaks.