lemon-mirror:
Home >> Acura >> 2003 >> RSX L4-2.0L >> Repair and Diagnosis >> Maintenance >> Alignment >> Service and Repair

Alignment: Service and Repair

Wheel Alignment
The suspension can be adjusted for front camber, front toe, and rear toe. However, each of these adjustments are interrelated to each other. For example, when you adjust toe, the camber changes. Therefore, you must adjust the front wheel alignment whenever you adjust camber or toe.

Pre-Alignment Checks
For proper inspection and adjustment of the wheel alignment, do these checks:
1. Release the parking brake to avoid an incorrect measurement.
2. Make sure the suspension is not modified.
3. Check the tire size and tire pressure.
Tire size:
Front/rear:
Canadian RSX model: 195/65R15 91V
All other models: 205/55R16 91V
Tire pressure:
Front: 230 kPa (2.3 kgf/cm2, 33 psi)
Rear: 220 kPa (2.2 kgf/cm2, 31 psi)
4. Check the runout of the wheels and tires.





5. Check the suspension ball joints. (Hold a wheel with your hands, and move it up and down and right and left to check for wobbling).
6. Bounce the vehicle up and down several times to stabilize the suspension.

Front Caster Inspection
Use commercially available computerized four wheel alignment equipment to measure wheel alignment (caster, camber, toe, and turning angle). Follow the equipment manufacturer's instructions.
Check the caster angle. If the caster angle is not within the specification, check for bent or damaged suspension components.
Front caster angle: 1°30' ± 1°

Front Camber Inspection
Use commercially available computerized four wheel alignment equipment to measure wheel alignment (caster, camber, toe, and turning angle). Follow the equipment manufacturer's instructions.
Check the camber angle. If the camber angle is not within the specification, adjust the camber.
Front camber angle: 0°00' ± 45'

Front Camber Adjustment





The front camber can be adjusted by exchanging one or both of the damper pinch bolts with the smaller diameter adjusting bolt(s). The difference between the adjusting bolt diameter and the pinch bolt hole diameter allows a small range of adjustment.
1. Raise the front of the vehicle, and make sure it is securely supported. Remove the front wheels.





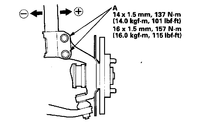
2. Loosen the damper pinch nuts and bolts (A), and adjust the camber by moving the bottom of the damper within the range of the damper pinch bolt free play.
3. Tighten the bolts to the specified torque.
4. Reinstall the front wheels. Lower the front of the vehicle to the ground, and bounce the vehicle several times to stabilize the suspension.
5. Check the camber angle. If it is within the specification, check the front toe. If it is not within the specification, go to step 6.
6. Raise the front of the vehicle, and make sure it is securely supported. Remove the front wheels.





7. Replace the damper pinch bolts with the adjusting bolts (A), and adjust the camber angle.

NOTE: The camber angle can be adjusted up to ± 15' (center of tolerance) by replacing one damper pinch bolt with the adjusting bolt. The camber angle can be adjusted up to ± 30' by replacing both upper and lower damper pinch bolts with the adjusting bolts.

8. Tighten the bolts to the specified torque.
9. Reinstall the front wheels. Lower the front of the vehicle to the ground, and bounce the vehicle several times to stabilize the suspension.
10. Check the camber angle. If it is within the specification, check the front toe, and adjust it if necessary. If it is not within the specification, readjust, and recheck. If the camber angle cannot be adjusted to the specification, check for bent or damaged suspension components.

Rear Camber Inspection
Use commercially-available computerized four wheel alignment equipment to measure wheel alignment (caster, camber, toe, and turning angle). Follow the equipment manufacturer's instructions.
Check the camber angle. If the camber angle is not within the specification, check for bent or damaged suspension components.
Rear camber angle: - 0 ° 45' ± 45'

NOTICE: Do not loosen the special bolts on the trailing arm.

Front Toe Inspection/Adjustment
Use commercially-available computerized four wheel alignment equipment to measure wheel alignment (caster, camber, toe, and turning angle). Follow the equipment manufacturer's instructions.
1. Center the steering wheel spokes.
2. Check the toe. If it is not within the specification, go to step 3.
Front toe-in: 0 ± 3 mm (0 ± 0.12 inch)





3. Loosen the locknut (A) while holding the tie-rod arm (B).
4. Turn the tie-rod end (C) until the toe is correct.

NOTE: Adjust both the right and left wheels at the same time by the same amount in opposite directions to obtain the correct toe and to keep the steering wheel straight.

5. After adjusting, tighten the locknut while holding the tie-rod arm. Make sure the toe setting does not change.

Rear Toe Inspection/Adjustment
Use commercially-available computerized four wheel alignment equipment to measure wheel alignment (caster, camber, toe, and turning angle). Follow the equipment manufacturer's instructions.
1. Release the parking brake.
2. Check the toe. If it is not within the specification, go to step 3.
Rear toe-in: 2 (+2 -1) mm, (0.08 [+0.08 -0.04] inch)





3. Loosen the self-locking nut (A) while holding the adjusting bolt (B).

NOTICE: Do not loosen the special bolts (C) on the trailing arm.

4. Replace the self-locking nut with a new one, and lightly tighten it.

NOTE: Always use a new self-locking nut whenever it has been loosened.

5. Turn the adjusting bolt until the toe is correct.
6. Tighten the self-locking nut to the specified torque while holding the adjusting bolt.

Turning Angle Inspection
Use commercially-available computerized four wheel alignment equipment to measure wheel alignment (caster, camber, toe, and turning angle). Follow the equipment manufacturer's instructions.





1. Turn the steering wheel fully to the right and left while applying the brake, and check the turning angles of both front wheels. If the turning angle is not within the specification or the inward turning angles differ between the right and left side, go to step 2.
2. Check the toe. If it is correct, but the turning angle is not within the specification, check for bent or damaged suspension components.