lemon-mirror:
Home >> Acura >> 2003 >> 3.2CL V6-3.2L SOHC >> Repair and Diagnosis >> Maintenance >> Timing Component Alignment Marks >> Locations

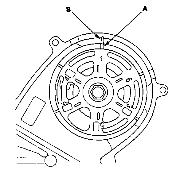
Timing Component Alignment Marks: Locations













CAUTION: Incorrect removal or installation of the timing belt can result in damage to internal engine components.

For complete Timing Belt Removal and Installation information: Service and Repair