lemon-mirror:
Home >> Acura >> 2002 >> MDX V6-3471cc 3.5L >> Repair and Diagnosis >> Specifications >> Mechanical Specifications >> Engine >> Cylinder Block Assembly >> System Specifications >> Service Specifications

Service Specifications





Connecting Rod End Play





Crankshaft End Play





Main Bearing-to-Journal Oil Clearance





Main Bearing Identification





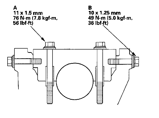
Main Bearing Cap Torque





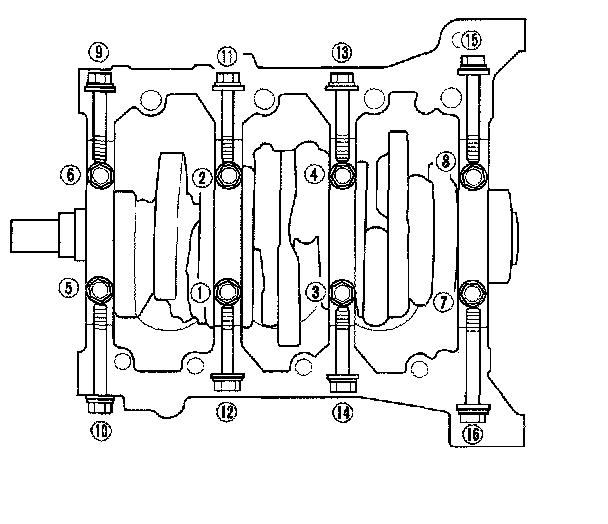
Main Bearing Cap Tightening sequence





Connecting Rod Bearing-to-Journal Oil Clearance






Connecting Rod Bearing Identification





Crankshaft Total Runout





Journal Out-of-Round





Piston Diameter





Cylinder Bore Size





Cylinder Block Warpage





Piston-to-Block Clearance





Piston Pin Diameter





Piston Pin-to-Piston Clearance





Piston Pin-to-Connecting Rod Clearance

Piston Ring End-Gap:
Top Ring
Standard (New): 0.20 0.35 mm (0.008 - 0.014 inch)
Service Limit: 0.60 mm (0.024 inch)
Second Ring
Standard (New): 0.40 - 0.55 mm (0.016 - 0.022 inch)
Service Limit: 0.70 mm (0.028 inch)
Oil Ring
Standard (New): 0.20 - 0.70 mm (0.008 - 0.028 inch)
Service Limit: 0.80 mm (0.031 inch)





Piston Ring Dimensions





Top Ring Clearance





Position Of Ring End Gaps