lemon-mirror:
Home >> Acura >> 2002 >> CL V6-3.2L SOHC >> Repair and Diagnosis >> Specifications >> Mechanical Specifications >> Engine >> System Specifications >> Bolt Sequence

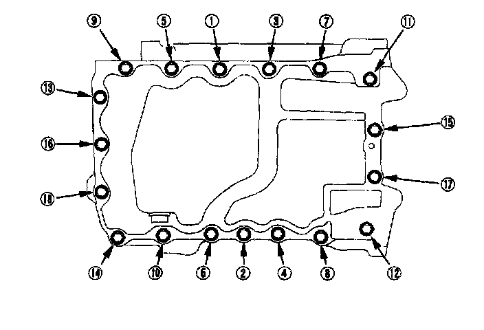
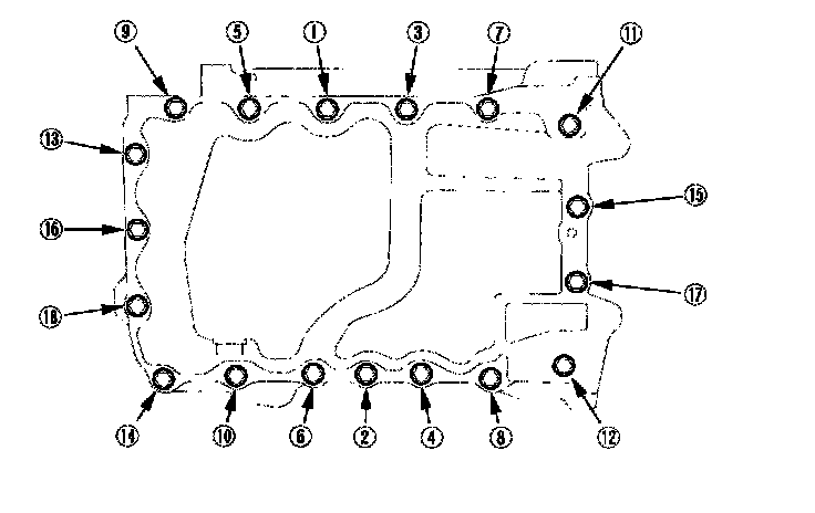
Bolt Sequence

Camshaft/Rocker Arms:



Cylinder Head Bolts:



Intake Manifold:



Upper Cover Bolts:



Crankshaft and Piston:



Oil Pump: