lemon-mirror:
Home >> Acura >> 2002 >> CL V6-3.2L SOHC >> Repair and Diagnosis >> Body and Frame >> Specifications >> Service Specifications

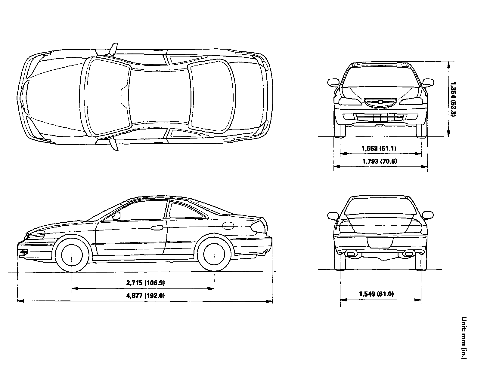
Service Specifications